Postęp nauki
Witaj na EduKNX
EduKNX to interaktywny panel edukacyjny zaprojektowany z myślą o przystępnej i stopniowej nauce systemu automatyki budynkowej KNX/EIB oraz obsługi programu ETS6.
Struktura nauki
- Moduły EIB i ETS6 – zawierają teoretyczne wprowadzenie do systemu oraz oprogramowania.
- Test wiedzy – dostępny w menu po ukończeniu wszystkich modułów teoretycznych EIB i ETS6. Pytania mogą mieć jedną lub więcej poprawnych odpowiedzi.
System progresji
- Każda sekcja kończy się przyciskiem "Zapoznałem się", który zapisuje postęp w przeglądarce.
- Nie można przejść do kolejnych tematów bez ukończenia poprzednich.
- Postęp widoczny jest na pasku postępu na stronie głównej.
Resetowanie postępu
Możesz w każdej chwili zresetować swój postęp za pomocą przycisku „Zresetuj postęp”.
Wymagania techniczne
Panel zapisuje dane lokalnie w przeglądarce użytkownika. Upewnij się, że masz włączoną obsługę JavaScript i nie korzystasz z trybu prywatnego, jeśli chcesz zachować postępy.
Cel platformy
Celem EduKNX jest umożliwienie uczniom i kursantom samodzielnej nauki w tempie dopasowanym do ich potrzeb, w sposób uporządkowany i kontrolowany.
Wiadomości wstępne
Europejska Magistrala Instalacyjna EIB (ang. Europen Installation Bus)
Europejska Magistrala Instalacyjna (EIB, ang. European Installation Bus) to standard magistrali komunikacyjnej opracowany w celu zarządzania automatyką budynkową. System opiera się na koncepcji zdecentralizowanej komunikacji między urządzeniami – każde z nich wyposażone jest w procesor i komunikuje się z innymi poprzez wspólną magistralę danych (typowo: skrętka dwużyłowa 29V DC). EIB umożliwia przesyłanie sygnałów sterujących (np. załącz/wyłącz, wartości analogowe) pomiędzy czujnikami (np. przyciskami, termostatami) a aktorami (np. przekaźnikami, siłownikami) bez udziału jednostki centralnej.
System EIB działa na zasadzie komunikacji peer-to-peer, where każde urządzenie jest równorzędne (brak kontrolera głównego), a komunikacja odbywa się w oparciu o adresowanie grupowe. Urządzenia są programowane przy użyciu specjalistycznego oprogramowania (obecnie ETS), a konfiguracja zapisywana jest lokalnie w każdym urządzeniu.
Schemat magistrali EIB

Instalacja tradycyjna vs. EIB
| Cecha | Tradycyjna instalacja | EIB |
|---|---|---|
| Topologia | Centralna lub promieniowa (gwiazda) | Magistralna |
| Sterowanie | Mechaniczne (łączniki, styczniki) | Logiczne – komunikacja po magistrali |
| Elastyczność | Niska – wymaga zmian w instalacji | Wysoka – konfiguracja programowa |
| Komunikacja między urządzeniami | Brak – każde działa osobno | Pełna – wymiana danych pomiędzy urządzeniami |
| Funkcje logiczne | Brak lub realizowane zewnętrznie | Wbudowane w urządzenia |
| Integracja systemów | Trudna lub niemożliwa | Łatwa – systemy w jednej sieci |
| Zużycie energii | Zależne od sposobu wykonania | Zoptymalizowane przez automatykę |
Topologia systemu
Struktura hierarchiczna KNX/EIB
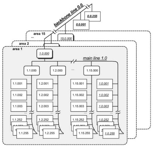
System KNX/EIB charakteryzuje się zdecentralizowaną, ale hierarchiczną strukturą topologiczną. Pozwala to na budowę zarówno małych, jak i bardzo rozległych instalacji automatyki budynkowej. Podstawowe elementy struktury to:
- Linia (Line): Podstawowy segment sieci, do którego bezpośrednio podłączane są urządzenia KNX (czujniki, aktory). Linia zasilana jest przez dedykowany zasilacz KNX. Może zawierać do 64 urządzeń magistralnych. W przypadku potrzeby podłączenia większej liczby urządzeń, linia może być rozszerzona za pomocą regeneratorów liniowych (Line Repeaters) – maksymalnie 3 regeneratory, co pozwala na podłączenie do 255 urządzeń (64 + 3*64, choć w praktyce mniej ze względu na zasilanie i ruch).
- Obszar (Area): Grupuje do 15 linii. Linie w obrębie jednego obszaru komunikują się ze sobą za pomocą łącznika liniowego (Line Coupler - LC). Łącznik liniowy filtruje telegramy, przepuszczając tylko te, które są istotne dla innych linii w obszarze lub dla linii głównej.
- Linia Główna (Main Line): Łączy poszczególne linie w obrębie jednego obszaru. Łącznik liniowy (LC) podłączony do linii głównej pełni rolę łącznika obszarowego.
- Linia Grzbietowa (Backbone Line): Łączy do 15 obszarów. Komunikacja między obszarami odbywa się za pomocą łączników obszarowych (Area Couplers - AC), które są podłączone do linii grzbietowej. Podobnie jak łączniki liniowe, filtrują one telegramy.
Na dole znajdują się linie z urządzeniami. Kilka linii łączy się poprzez łączniki liniowe (LC) tworząc linię główną obszaru. Kilka takich obszarów łączy się poprzez łączniki obszarowe (AC) tworząc linię grzbietową systemu.
Przykładowy schemat topologii KNX

Łączniki (Couplers)
Łączniki są kluczowymi elementami w budowie większych instalacji KNX. Ich głównym zadaniem jest galwaniczne oddzielenie segmentów sieci oraz filtrowanie telegramów w celu zmniejszenia obciążenia magistrali.
| Typ łącznika | Funkcja | Zastosowanie |
|---|---|---|
| Łącznik Liniowy (Line Coupler - LC) | Łączy linię z linią główną lub dwie linie w ramach tego samego obszaru. Filtruje telegramy, aby zmniejszyć ruch na magistrali. | Standardowe połączenie linii z resztą systemu. |
| Łącznik Obszarowy (Area Coupler - AC) / Backbone Coupler (BC) | Łączy linię główną obszaru z linią grzbietową (Backbone Line). AC i BC to często to samo urządzenie, różniące się konfiguracją. | Łączenie obszarów w większych instalacjach. |
| Regenerator Liniowy (Line Repeater) | Wzmacnia sygnał i pozwala na rozszerzenie linii o dodatkowe segmenty (do 3 segmentów po 64 urządzenia każdy na linię). Nie filtruje telegramów. | Gdy jedna linia wymaga więcej niż 64 urządzeń lub gdy trzeba pokonać większe odległości w ramach linii. |
| Router IP (KNX IP Router) | Łączy segmenty KNX TP (Twisted Pair) z siecią IP (Ethernet). Może pełnić funkcję łącznika liniowego lub obszarowego, transmitując telegramy KNX przez sieć IP. | Integracja z sieciami LAN/WAN, wizualizacje, zdalny dostęp, łączenie odległych instalacji KNX. |
Dlaczego filtrowanie telegramów jest ważne?
W dużych instalacjach KNX generowanych jest wiele telegramów. Gdyby wszystkie telegramy były przesyłane do każdego segmentu sieci, magistrala stałaby się przeciążona, co prowadziłoby do opóźnień lub utraty komunikacji. Łączniki analizują adresy docelowe telegramów i przepuszczają tylko te, które są przeznaczone dla urządzeń w danym segmencie lub muszą być przesłane dalej w hierarchii. To znacznie optymalizuje ruch sieciowy.
Maksymalna liczba urządzeń:
Teoretycznie, system KNX może obsłużyć ponad 60 000 urządzeń (15 obszarów * 15 linii/obszar * 256 urządzeń/linia). W praktyce, projektanci uwzględniają również ograniczenia związane z zasilaniem i natężeniem ruchu na magistrali.
Adresowanie
Rodzaje adresów w systemie KNX/EIB
W systemie KNX/EIB występują dwa fundamentalne rodzaje adresów, które pełnią różne role w funkcjonowaniu instalacji:
- Adres Fizyczny (Individual Address)
- Adres Grupowy (Group Address)
Adres Fizyczny (Individual Address)
Każde urządzenie magistralne w instalacji KNX musi posiadać unikalny Adres Fizyczny. Służy on do identyfikacji urządzenia podczas programowania, konfiguracji oraz diagnostyki.
Struktura Adresu Fizycznego
Adres fizyczny ma strukturę trójpoziomową, odzwierciedlającą topologię sieci: Obszar.Linia.Urządzenie.
- Obszar (Area): 4 bity, wartości od 0 do 15. (Np.
1.x.x) - Linia (Line): 4 bity, wartości od 0 do 15. (Np. x.
1.x) - Urządzenie (Device): 8 bitów, wartości od 0 do 255. (Np. x.x.
12)
Przykład: Adres 1.1.10 oznacza urządzenie nr 10, w linii nr 1, obszaru nr 1.
Uwaga: Adres X.Y.0 jest zarezerwowany dla łącznika linii. Zasilacze z diagnostyką też mają adres fizyczny.
Adres fizyczny nadawany jest przez ETS przez: naciśnięcie przycisku programowania na urządzeniu lub (rzadziej) wpisanie numeru seryjnego.
Struktura adresu fizycznego

Adres Grupowy (Group Address)
Adresy Grupowe łączą obiekty komunikacyjne urządzeń dla funkcji (np. włącz światło).
Gdy czujnik wysyła telegram z adresem grupowym, wszystkie aktory nasłuchujące na ten adres reagują.
Struktura Adresów Grupowych
ETS pozwala na struktury:
- Dwupoziomowa (Main/Sub): np.
1/101(Główna: 0-31, Podgrupa: 0-2047) - Trzypoziomowa (Main/Middle/Sub): np.
1/2/3(Główna: 0-31, Pośrednia: 0-7, Podgrupa: 0-255) - zalecana. - Dowolna (Free): 0-65535 (mniej czytelna).
Wybór zależy od projektu. Trzypoziomowa jest najbardziej elastyczna.
Urządzenie może mieć wiele adresów grupowych; adres grupowy może być używany przez wiele urządzeń.
Porównanie Adresów Fizycznych i Grupowych
| Cecha | Adres Fizyczny | Adres Grupowy |
|---|---|---|
| Cel | Identyfikacja, programowanie, diagnostyka | Komunikacja funkcjonalna |
| Unikalność | Unikalny w instalacji | Współdzielony przez obiekty |
| Kierunek | Źródłowy/Docelowy (bezpośrednia komunikacja) | Głównie Docelowy (funkcje) |
| Struktura | Obszar.Linia.Urządzenie | Główna/Pośrednia/Podgrupa lub Główna/Podgrupa |
Budowa elementu magistralnego
Ogólna struktura urządzenia KNX/EIB
Typowe urządzenie KNX składa się z:
- Jednostki Sprzęgającej z Magistralą (Bus Coupling Unit - BCU)
- Modułu Aplikacyjnego (Application Module - AM)
Mogą być zintegrowane lub oddzielne (BCU jako podstawa).
Schemat blokowy urządzenia KNX

Jednostka Sprzęgająca z Magistralą (BCU)
Odpowiada za komunikację, połączenie z magistralą, zasilanie AM.
Kluczowe komponenty BCU:
- Mikrokontroler/Procesor: Wykonuje stack KNX i program aplikacyjny.
- Pamięć Nieulotna: Przechowuje adres fizyczny, program, parametry, adresy grupowe.
- Transceiver KNX: Konwersja sygnałów, separacja galwaniczna.
- Złącze magistralne.
- Przycisk programowania i dioda LED.
- Układ zasilania: Z magistrali (29V DC) do napięć wewnętrznych.
Moduł Aplikacyjny (AM)
Realizuje specyficzną funkcję urządzenia.
Przykłady:
- Czujniki: Klawisze, czujniki temperatury, obecności, jasności, wyświetlacze.
- Aktory: Przekaźniki, ściemniacze, sterowniki rolet, zaworów.
Program Aplikacyjny
Oprogramowanie od producenta (.VD, .KNXPROD), wgrywane przez ETS. Definiuje: funkcje, obiekty komunikacyjne, parametry. Instalator konfiguruje i wgrywa.
Zasilanie urządzeń
Większość zasilana z magistrali KNX (SELV 29V DC). Aktory dużej mocy mogą wymagać dodatkowego zasilania 230V AC dla obwodów wykonawczych, logika nadal z magistrali.
Budowa i sposób przesyłania informacji
Medium Transmisyjne - Skrętka (Twisted Pair - TP1)
Najpopularniejsze: kabel YCYM 2x2x0.8mm lub J-Y(St)Y 2x2x0.8mm (KNX TP1).
- Dwie żyły (czerwona/czarna) dla zasilania (29V DC SELV) i danych.
- Dane modulowane na napięciu zasilającym.
- Prędkość: 9600 bit/s.
- Transmisja symetryczna, odporna na zakłócenia.
Kabel KNX TP1

Telegram KNX/EIB
Dane przesyłane jako telegramy o określonej strukturze.
Podstawowa struktura telegramu KNX TP1 (uproszczona):
Struktura telegramu KNX
- Pole Kontrolne: 8 bitów (typ ramki, priorytet, powtórzenie).
- Adres Źródłowy: 16 bitów (adres fizyczny nadawcy).
- Adres Docelowy: 16 bitów (fizyczny lub grupowy).
- Pole Informacji o Trasowaniu: 3 bity (Routing Counter, ogranicza zasięg).
- Długość Danych: 4 bity (liczba bajtów danych użytkownika 1-16).
- Dane Użytkownika: 1-16 bajtów (informacja sterująca/statusowa, często z APCI).
- Suma Kontrolna (FCS): 8 bitów (weryfikacja poprawności).
Każdy bajt chroniony bitem parzystości, telegram potwierdzany (ACK/NACK).
Metoda Dostępu do Magistrali: CSMA/CA
Carrier Sense Multiple Access with Collision Avoidance:
- CS: Nasłuchuj przed nadaniem.
- MA: Wiele urządzeń na magistrali.
- CA: Unikanie kolizji (priorytet, bitowa dominacja '0' nad '1').
Unikanie kolizji w praktyce
Urządzenie nadaje i słucha. Jeśli nadało '1' a odczytało '0', przerywa transmisję, ustępując pierwszeństwa.
Potwierdzenia (Acknowledgements)
Telegramy potwierdzane przez odbiorcę lub warstwę łącza.
- ACK: Pozytywne.
- NACK / BUSY: Negatywne (odbiorca zajęty, błąd). Nadawca ponawia próbę.
Dane techniczne magistrali Instabus EIB
Podstawowe Parametry Elektryczne i Fizyczne dla KNX TP1
Kluczowe parametry dla KNX TP1:
| Parametr | Wartość / Opis |
|---|---|
| Napięcie znamionowe | 29V DC (SELV) |
| Zakres napięcia pracy | 21V DC - 30V DC |
| Zasilanie | Zasilacze KNX (np. 160-1280mA) |
| Pobór prądu / urządzenie | Typowo 5-10mA |
| Medium | Skrętka ekranowana (np. J-Y(St)Y 2x2x0.8 mm) |
| Prędkość transmisji | 9600 bit/s |
| Dostęp do medium | CSMA/CA |
| Urządzenia / linia (bez regener.) | 64 |
| Urządzenia / linia (z 3 regener.) | 256 |
| Maks. dł. linii | 1000 m (suma odgałęzień) |
| Maks. odl. zasilacz-urządzenie | 350 m |
| Maks. odl. między urządzeniami | 700 m |
| Maks. linii / obszar | 15 |
| Maks. obszarów / system | 15 |
| Rezystancja pętli kabla | Maks. 100 Ω (dla 0.8mm) |
| Topologia | Dowolna (drzewo, gwiazda, liniowa) w segmencie; pętle niedozwolone. |
Dlaczego ważne są maks. długości?
Przekroczenie powoduje: spadek napięcia, tłumienie sygnału, problemy z pojemnością kabla, co prowadzi do błędów komunikacji.
Co to jest SELV?
Safety Extra Low Voltage (Bardzo Niskie Napięcie Bezpieczne) - do 50V AC lub 120V DC (KNX: 29V DC). Odizolowane od wyższych napięć dla bezpieczeństwa.
Inne Media Transmisyjne KNX
Oprócz TP1:
- PL (Power Line): Przez sieć elektroenergetyczną.
- RF (Radio Frequency): Bezprzewodowo (868 MHz).
- IP (Ethernet): Przez sieci komputerowe (KNXnet/IP).
Wiadomości wstępne dotyczące programu
Wprowadzenie do oprogramowania ETS6, które jest kluczowym narzędziem do pracy z systemem KNX.
Logo ETS6

Program ETS6
ETS6 (Engineering Tool Software 6) od KNX Association służy do projektowania, konfigurowania i programowania instalacji KNX/EIB (oświetlenie, ogrzewanie, rolety itp.).
Najważniejsze cechy ETS6
- Uniwersalność: wspiera wszystkie certyfikowane urządzenia KNX.
- Programowanie urządzeń: adresy grupowe, parametry, ładowanie programu.
- Tworzenie projektów: budowa logicznej struktury instalacji.
- Diagnostyka i analiza: testowanie i monitorowanie.
- Wersje licencyjne: Lite (ograniczona, bezpłatna), Professional (komercyjna).
Zastosowanie w praktyce
ETS6 tworzy projekt sterowania, który jest przesyłany do urządzeń. Kluczowe ogniwo między projektem a realizacją.
Tworzenie projektu
Dowiedz się, jak rozpocząć pracę w ETS6, tworząc nowy projekt, definiując jego podstawowe parametry, takie jak medium transmisyjne i struktura adresów.
Tworzenie projektu w programie ETS6
W sekcji Projekty lokalne wybierz Nowy projekt (lub użyj kreatora/importuj).
Wprowadź nazwę i typ, wybierz szkielet i topologię.
Szkielet
Główna magistrala komunikacyjna. Media:
- TP (Twisted Pair) – najczęstsza.
- IP – Ethernet (KNX IP) do łączenia segmentów.
Topologia
Utwórz linię 1.1 tworzy obszar 1 i linię nr 1 (adresy 1.1.x).
Adres fizyczny: A.L.D (Obszar.Linia.Urządzenie).
Struktura drzewa: Obszar (piętro), Linia (pomieszczenia), Urządzenia.
Media komunikacyjne linii:
| Medium | Opis | Zastosowanie |
|---|---|---|
| TP | Magistrala dwuprzewodowa | Domy, biura |
| PL | Przez przewody zasilające | Stare budynki |
| RF | Bezprzewodowe | Trudno dostępne miejsca |
| IP | Sieć Ethernet | Duże instalacje |
Adresy grupowe (logiczne) do komunikacji. Struktury:
1. Dowolna (Free Format)
- Prosty numer (
15). Mniej czytelne.
2. Dwupoziomowa (Two-level)
- Format:
G/M(1/2- "Oświetlenie / Salon").
3. Trzypoziomowa (Three-level)
- Format:
MG/MG/SG(1/2/5- "Oświetlenie / Kuchnia / LED sufit"). Najbardziej przejrzysta.
Tworzenie nowego projektu
Tworzenie struktury budynku
Zobacz, jak w ETS6 zorganizować projekt, odwzorowując fizyczną strukturę budynku (piętra, pomieszczenia), co ułatwia zarządzanie urządzeniami.
Tworzenie struktury budynku w programie ETS6
Aby stworzyć strukturę budynku należy za pomocą prawego przycisku myszy wybrać stworzony projekt w sekcji Budynki, a następnie za pomocą zakładki Dodaj hierarchicznie dodać odpowiednie części budynku.
Tworzenie struktury budynku

Dodawanie urządzeń
W tej sekcji nauczysz się dodawać różne typy urządzeń KNX do swojego projektu w ETS6, od zasilaczy po aktory i czujniki.
Dodawanie urządzeń w programie ETS6
Aby dodać nowe urządzenie, należy prawym przyciskiem myszy wybrać docelowe pomieszczenie, a nastepnie za pomocą zakładki Dodaj -> Urządzenia wywołać okno katalogowe, w którym należy wyszukać lub wybrać odpowiednie urządzenie z listy.
Dodanie zasilacza:

Dodanie przycisków multifunkcyjnych:

Dodanie aktuatora ściemniającego:

Dodanie aktuatora roletowego:

Dodanie aktuatora ogrzewania:

Tworzenie struktury adresów grupowych
Adresy grupowe są fundamentem komunikacji w KNX. W tej sekcji dowiesz się, jak tworzyć ich logiczną i przejrzystą strukturę w ETS6.
Tworzenie struktury adresów grupowych w programie ETS6
Aby dodać grupę główną adresów, należy przejść do zakładki Adresy grupowe, następnie w oknie adresów należy prawym przyciskiem myszy wybrać zakładkę Adresy grupowe i Dodaj grupę główną.
Dodanie grupy pośredniej polega na wybraniu prawym przyciskiem myszy stworzonej grupy głównej, a następnie zaznaczeniem opcji Dodaj grupę pośrednią.
Aby dodać adres grupowy, należy prawym przyciskiem myszy wybrać stworzoną grupę pośrednią, a następnie zaznaczyć opcje Dodaj adres grupowy.
Dodanie grupy głównej:

Dodanie grupy pośredniej i adresu grupowego - oświetlenie:

Dodanie grupy pośredniej i adresu grupowego - rolety:

Dodanie grupy pośredniej i adresu grupowego - ogrzewanie:

Parametryzacja funkcji urządzeń
Każde urządzenie KNX posiada parametry, które definiują jego zachowanie. Zobacz, jak konfigurować je w ETS6, aby dostosować funkcjonalność do potrzeb projektu.
Parametryzacja funkcji urządzeń w programie ETS6
Aby skonfigurować parametry dodanych urządzeń, należy wybrać odpowiednie urządzenie z listy, a następnie przejść do zakładki Parametry.
Ustawienie trybu 6 przycisków na panelu:

Ustawienie funkcji przycisku 1 jako rozjaśnianie oraz przycisku 2 jako przyciemnianie oświetlenia:

Ustawienie funkcji przycisku 3 jako podniesienie rolet oraz przycisku 4 jako funkcji ich opuszczenia:

Ustawienie funkcji przycisku 5 jako załączanie termostatu oraz przycisku 6 jako jego wyłączanie:

Łączenie obiektów z grupami adresowymi
Kluczowym etapem konfiguracji jest powiązanie obiektów komunikacyjnych urządzeń z odpowiednimi adresami grupowymi, co umożliwia im wzajemną komunikację.
Łączenie obiektów z grupami adresowymi w programie ETS6
Aby powiązać obiekty komunikacyjne urządzeń z odpowiednimi adresami grupowymi, należy wybrać z listy urządzenie do skonfigurowania, a następnie przejść do zakładki Obiekty grupowe. Wybrane z listy obiekty należy przeciągnąć lewym przyciskiem myszy do okna Powiązania wybranego adresu grupowego.
Łączenie obiektów oświetlenia (zał/wył) z grupami adresowymi:

Łączenie obiektów oświetlenia (rozjaśnij/przyciemnij) z grupami adresowymi:

Łączenie obiektów obsługi rolet (podnieś/opuść) z grupami adresowymi:

Łączenie obiektów obsługi termostatu (zał/wył) z grupami adresowymi:

Uruchamianie i testowanie aplikacji
Ostatni etap to wgranie konfiguracji do urządzeń, weryfikacja poprawności działania instalacji oraz wykorzystanie narzędzi diagnostycznych ETS6 do monitorowania i rozwiązywania problemów.
Proces uruchamiania instalacji KNX
Po montażu, uruchomienie z ETS:
- Weryfikacja instalacji fizycznej: Sprawdzenie połączeń, zasilania, obciążeń. Unikać pętli TP1.
- Programowanie adresów fizycznych: Każde urządzenie musi mieć unikalny adres. W ETS, po podłączeniu interfejsu, wybierz urządzenie, inicjuj programowanie, naciśnij przycisk na urządzeniu.
- Wgrywanie programu aplikacyjnego i parametrów: Po adresie, wgraj program, parametry, powiązania.
- Weryfikacja topologii i komunikacji: Narzędzia diagnostyczne ETS.
Testowanie funkcji
Po wgraniu konfiguracji:
- Testy indywidualne: Działanie każdego czujnika/aktora.
- Testy grupowe/scenariuszy: Weryfikacja scen, komunikacji grupowej.
- Monitorowanie magistrali: Monitor grup/magistrali w ETS do śledzenia telegramów.
- Diagnostyka urządzeń: Odczyt statusu i informacji diagnostycznych.
Najczęstsze problemy
- Błędy w adresacji, zasilaniu, okablowaniu.
- Niepoprawna parametryzacja (np. flagi obiektów).
- Problemy z interfejsem komunikacyjnym.
- Błędne filtrowanie telegramów przez łączniki.
Dokładne testowanie jest kluczowe. Po testach instalacja jest gotowa.
Lekcja pierwsza
Treść lekcji pierwszej...
Lekcja druga
Treść lekcji drugiej...
Lekcja trzecia
Treść lekcji trzeciej...
Test Wiedzy KNX
Test składa się z 10 losowo wybranych pytań. Pytania mogą mieć jedną lub więcej poprawnych odpowiedzi. Zaznacz wszystkie, które uważasz za poprawne. Powodzenia!